Un nuovo tipo di domande contestuali di Google
Pubblicato: 2019-05-16Google Crowdsourcing di informazioni locali utilizzando domande contestuali
Un brevetto di Google appena concesso inizia dicendoci che alcuni utenti hanno problemi a creare query di ricerca utili e a guardare i risultati di ricerca generati dalle query.
In risposta a questi problemi, questo brevetto funziona per suggerire domande per avviare una ricerca. Può utilizzare domande contestuali basate su informazioni su un ricercatore come la sua posizione o i suoi interessi. Un ricercatore può selezionare una domanda fornita e il motore di ricerca mostrerà le risposte in risposta a quella domanda. La selezione delle risposte può essere utilizzata per identificare ulteriori domande relative alle risposte selezionate. Questa può sembrare una serie apparentemente infinita di domande e risposte se continui a guardare le risposte alle domande fornite. Le domande che vengono poste consentono alle persone di effettuare selezioni e persino di inviare le loro domande.
Abbiamo visto domande correlate su Google che vengono inserite nei risultati di ricerca e ho scritto su quelle. Queste domande contestuali sembrano essere leggermente diverse e esploreremo come. Questo brevetto è stato appena concesso e non ho ancora visto domande simili a quelle descritte in questo brevetto, ma potremmo – non sono così diverse dalle domande correlate che vediamo in molte SERP di Google.
Il brevetto fornisce alcuni esempi di tali domande e risposte in base alla posizione
...l'applicazione può inizialmente visualizzare un'interfaccia che include domande pertinenti per l'utente in base alla posizione dell'utente. Ad esempio, l'utente si trova nel centro di New York City e l'interfaccia può visualizzare domande popolari per New York City, come "Quali sono i migliori siti per New York City" e "Quali sono i migliori spettacoli da vedere a New York Città." L'utente può selezionare la domanda "Quali sono i migliori siti per New York City" e, a sua volta, l'interfaccia viene aggiornata per visualizzare le risposte pertinenti alla domanda, come "Empire State Building" e "Times Square". L'utente può successivamente selezionare "Empire State Building" e l'interfaccia viene ulteriormente aggiornata per includere ulteriori domande basate sulla risposta "Empire State Building" come "Quanto è alto l'Empire State Building" e "Quanti anni ha l'Empire State Building. " L'utente può selezionare la domanda "Quanti anni ha l'Empire State Building" e l'interfaccia viene ulteriormente aggiornata per includere una risposta "84 anni". Dopo aver selezionato la risposta "84 anni" da parte dell'utente, si determina che non ci sono ulteriori domande associate alla risposta "84 anni". Tuttavia, l'interfaccia può essere aggiornata per l'inserimento di una domanda aggiuntiva fornita dall'utente per l'associazione con la risposta "84 anni".
L'ultima volta che ho scritto su domande poste e risposte da Google, è stato nel post: Le domande correlate ora utilizzano un grafico delle domande e sono unite da "Anche le persone cercano" perfezionamenti
Il punto di questo brevetto è che le persone non sempre sanno esattamente le cose giuste da chiedere quando potrebbero volere informazioni su un argomento, quindi Google potrebbe mostrare domande che potrebbero corrispondere a ciò su cui potrebbero voler sapere di più.
Il brevetto, come molti, mostra i vantaggi del processo che sta dietro a queste domande correlate:
- Ricezione di dati identificativi di uno o più contesti
- Selezione di una serie iniziale di una o più domande basata almeno su uno o più contesti
- Fornire una rispettiva rappresentazione di una o più domande dell'insieme iniziale, per l'output
- Ricezione di dati che indicano una selezione di una particolare rappresentazione associata a una particolare domanda della serie iniziale di domande
- Selezione di un insieme di una o più risposte associate a una particolare domanda
- Fornire una rispettiva rappresentazione di una o più risposte dell'insieme associate alla domanda particolare, per l'output
- Ricezione di dati che indicano una selezione di una particolare rappresentazione associata a una particolare risposta dell'insieme associato alla particolare domanda
- Determinare che una serie aggiuntiva di una o più altre domande è associata alla risposta particolare
- E in risposta alla determinazione che l'insieme aggiuntivo di una o più altre domande è associato alla risposta particolare, fornendo una rispettiva rappresentazione di una o più delle altre domande dell'insieme aggiuntivo, per l'output
Una nuova direzione per le domande contestuali?
Questo brevetto non si riferisce a queste domande come domande correlate e il team di inventori che ha lavorato alle versioni precedenti di brevetti che comportano domande correlate non si sovrappone a questo: non c'è nessuno degli stessi inventori elencati in quei brevetti e questo . È come se due team diversi tentassero entrambi di rispondere a domande e risposte nei risultati di ricerca. Quindi quali differenze ci sono tra quei brevetti e questo?
1. Il brevetto concesso questa settimana sulle domande contestuali è stato l'ultimo brevetto depositato sulle domande che compaiono nelle SERP.
2. Questo brevetto utilizza domande contestuali, chiedendo cose relative alla posizione di un ricercatore o agli interessi di un ricercatore.
Le versioni precedenti dei brevetti che coinvolgono domande (e ce n'erano due) si concentrano sugli argomenti in quelle domande e su come potrebbero essere correlati tra loro, ma non guardano alle informazioni contestuali (come posizione e interessi), come questo nuovo brevetto su domande contestuali – questa sembra essere la differenza tra loro. Ho iniziato a cercare nel nuovo brevetto informazioni sui contesti e ho trovato questo nella sezione di riepilogo:

L'uno o più contesti includono un contesto basato sulla posizione di un dispositivo di elaborazione mobile che fornisce i dati che identificano uno o più contesti. Uno o più contesti includono un contesto basato sugli interessi di un utente associato a un dispositivo di elaborazione mobile che fornisce i dati che identificano uno o più contesti. Una o più domande del set iniziale sono classificate in base alla popolarità di ciascuna delle domande. L'una o più risposte del set sono classificate in base alla popolarità di ciascuna delle risposte. Fornire la rispettiva rappresentazione di una o più risposte dell'insieme che sono associate alla domanda particolare, per l'output, include inoltre: fornire, per l'output, un controllo per l'invio di una nuova risposta, ricevere la nuova risposta immessa tramite il controllo e memorizzare i dati associando la nuova risposta alla domanda specifica.
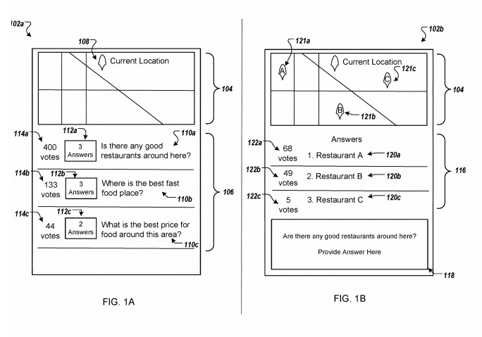
Questa immagine dello screenshot di una mappa e le domande contestuali del brevetto ci mostrano quanto potrebbe essere diverso dalle domande correlate di cui siamo a conoscenza:

Questo nuovo brevetto sulla domanda contestuale può essere trovato su:
Interfaccia di domande e risposte basata su informazioni contestuali
Inventori: Weizhao Wang, Monica Priya Garde, Justin Min, Jiarui Li, Eyal Segalis, Daniel Walevski, Yaniv Leviathan e Matthew Streit Coursen
Brevetto USA: 10.289.729
Concesso: 14 maggio 2019
Archiviato: 17 marzo 2016
Astratto
Metodi, sistemi e apparecchi, compresi programmi per computer codificati su un supporto di memorizzazione per computer, per ricevere contesti di identificazione di dati; selezionare una prima serie di domande basata almeno sui contesti; fornire una rispettiva rappresentazione delle domande del set iniziale, per l'output; ricevere dati che indicano una selezione di una particolare rappresentazione associata a una particolare domanda dell'insieme iniziale di domande; selezionare un insieme di risposte associate alla particolare domanda; fornire una rispettiva rappresentazione delle risposte dell'insieme che sono associate alla particolare domanda, per l'output; ricevere dati che indicano una selezione di una particolare rappresentazione associata a una particolare risposta dell'insieme che sono associati alla particolare domanda; determinare che un'ulteriore serie di altre domande è associata alla particolare risposta; e in risposta alla determinazione, fornire una rispettiva rappresentazione delle altre domande dell'insieme aggiuntivo, per l'output.
La descrizione dettagliata del brevetto inizia raccontandoci una tipica pagina di presentazione per le domande, come visto in questo post sopra. Ci dice che la pagina di presentazione include una regione della mappa e una regione della domanda. La regione della mappa può essere associata alla posizione di un dispositivo mobile in cui può essere posta una domanda. Le domande possono contenere anche informazioni associate alla posizione corrente.
Da dove vengono le domande contestuali?
Sono probabilmente associati a "un contesto basato sulla posizione dell'utente".
Possono essere precedentemente fornite query dalla posizione corrente dell'utente da parte di altri utenti.
Le domande possono anche essere associate a "un contesto basato sugli interessi dell'utente".
Tali interessi possono essere determinati da "interessi espliciti indicati dall'utente" o da fonti come profili di social network e potrebbero includere cose come preferenze alimentari, preferenze di prezzo e così via.
Esempi di domande contestuali
Oltre a rispondere a domande come “Ci sono buoni ristoranti da queste parti?”. Le domande di follow-up possono mostrare voci di menu di ristoranti specifici che possono essere selezionati e chiedere opinioni su piatti specifici di quei ristoranti.
Questo sembra essere un modo per aiutare un ricercatore a familiarizzare con le informazioni sull'area in cui potrebbe trovarsi. Sembra che potrebbe essere qualcosa che troverei utile se stessi visitando un posto in cui non ero mai stato prima, e volevo informarmi su hotel, ristoranti, negozi e locali nelle vicinanze.
Il brevetto consente ai ricercatori di votare su domande e risposte come "Quali sono i migliori fast food nelle vicinanze?" Quindi queste query contestuali consentono a Google di raccogliere informazioni sulle posizioni dai ricercatori. Essere mostrato come una potenziale scelta per una domanda come "Qual è il posto migliore per mangiare da queste parti?" potrebbe portare a più affari per i ristoranti elencati, e nulla nel brevetto suggerisce come essere selezionati come potenziale risposta a una domanda del genere. Ma è possibile che, man mano che Google viene a conoscenza di un'area, utilizzi informazioni da fonti come gli invii a Google My Business, da elenchi in directory locali, aggregatori di dati e siti Web aziendali e da domande a guide locali che rispondono a domande sui luoghi per Google.
Diverso dalle domande della Guida locale di Google
Queste non sono le domande correlate di oggi, ma questo tipo di domanda contestuale sembra essere il tipo di cosa che potrei vedere offrire da Google. In qualità di Google Local Guide, Google fa molte domande sui luoghi che potrei aver visitato in passato. Queste domande contestuali sarebbero una buona aggiunta a quelle. Le domande della guida locale sono leggermente diverse, ad esempio se ci sono sportelli bancomat in determinate località e se sono disponibili parcheggi per disabili o parcheggio in generale. O se alcuni articoli sono disponibili nei negozi o nei ristoranti. O se i bambini sono i benvenuti in determinati luoghi.
