Değiştirilmiş Arama Sorguları
Yayınlanan: 2022-01-20Yanlış Yazımlara ve Eş Anlamlılara Dayalı Değiştirilmiş Arama Sorguları
Bu patent, mevcut bir sorguya dayalı olarak önceki bir sorgunun değişikliklerinin sıralanmasıyla ilgilidir.
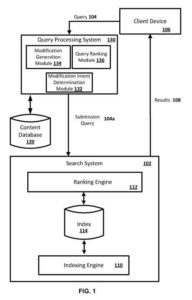
İnternet arama motorları, web sayfaları, resimler, metin belgeleri ve multimedya içeriği gibi İnternet'ten erişilebilen belgeler hakkında bilgi sağlar. Bir arama motoru, arama terimlerini içeren bir arama sorgusuna yanıt olarak kayıtları tanımlayabilir. Arama motoru, belgelerin sorguyla ilgisine ve makalelerin önemine göre belgeleri sıralar ve tanımlanan kayıtların yönlerini ve bağlantılarını içeren arama sonuçları sağlar.
Arama yapan kişinin arama sorgusu değiştirilebilir ve SERP'leri tanımlamada kullanılabilir.
Belgeleri tanımlamak için değiştirilmiş arama sorguları oluşturmak için Arama Sorgusu yazım hataları düzeltilebilir.
Arama Sorgusu Eşanlamlıları , değiştirilmiş arama sorgularının oluşturulmasında kullanılabilir ve bu tür değiştirilmiş arama sorguları, belgeleri tanımlamak için kullanılabilir.
Mevcut açıklama, önceki bir sorgunun modifikasyonlarını sıralamak için yöntemlere ve aparatlara yöneliktir. Örneğin, önceki bir sorgunun değişiklikleri, son sorgudan sonra verilen geçerli bir sorguya dayalı olarak oluşturulabilir.
Örneğin, önceki sorgunun modifikasyonları, son sorgunun n-gramlarının mevcut sorgunun n-gramları ile değiştirilmesine dayalı olarak oluşturulabilir.
Örneğin, önceki sorgu [yarın hava durumu] olabilir ve mevcut sorgu [nasıl Salı günü] olabilir. Son sorgunun değişiklikleri, [yarın salı] ve [weaTuesdayesday] değişikliklerini oluşturmak için n-gram "Salı"nın önceki sorgunun her terimiyle değiştirilmesiyle oluşturulabilir.
Önceki sorgunun değişiklikleri ek ve alternatif olarak, değişiklikleri oluşturmak için [yarın Salı], [Salı Salı] n-gramını son sorgunun her terimiyle değiştirerek oluşturulabilir. Her bir değişiklik tanımlanabilir ve her bir değişikliğin bir sıralaması belirlenebilir.
Değişikliklerin en az biri, değişikliklerin sıralamasına dayalı olarak bir başvuru sorgusu olarak seçilebilir. İstenen değişiklik, mevcut sorgunun yerine veya ek olarak gönderilebilir.

Değiştirilmiş Arama Sorguları Nasıl Gerçekleşebilir?
Aşağıdaki adımları içeren bilgisayarla uygulanan bir yöntem sağlanabilir:
- Birçok güncel sorgu terimini içeren güncel bir sorgu alma
- Mevcut sorgu terimlerine dayanarak, mevcut sorgunun, arama yapanın bir sorguyu iyileştirme niyetinin göstergesi olduğuna karar vermek
- Mevcut sorguyla ilişkili önceki bir sorguyu seçme, son sorgu, çok sayıda önceki sorgu terimini içerir ve mevcut sorgudan önce en az bir bilgisayar cihazı ve mevcut sorguyu veren bir araştırmacı tarafından verilir.
- Geçerli sorgu terimlerine göre bir değişiklik n-gramı seçme
- Her biri, önceki sorgu terimlerinde ikame edilen değişiklik n-gramını içeren önceki sorgunun değişikliklerini oluşturma
- Tanımlama, birden çok değişikliğin her bir değişikliği için
- Bir popülerlik ölçüsü ve ilgili bir kavram ölçüsü, burada popülerlik ölçüsü, değişikliğin popülerliğinin göstergesidir ve ilgili kavram ölçüsü, birlikte meydana gelme olasılığının göstergesidir.
- Değişiklik belgelerinde n-gram ve değişiklikte n-gram değişikliği ile değiştirilen önceki sorgu terimleri
- Değişikliklerin her biri için bir sıralamanın belirlenmesi, değişikliğin popülerlik ölçüsüne ve değişikliğin ilgili kavram ölçüsüne dayanır.
- Bir değişikliğin sıralaması, en azından diğer değişikliklerin sıralamasından daha belirgin olduğunda, bir gönderim sorgusu olarak kullanmak üzere değişikliklerin bir değişikliğini seçme
Arama sorgularının değiştirilmesi aşağıdaki özellikleri içerebilir.
- Geçerli sorgu yerine bir sorgu sistemine bir değişiklik gönderme. Sorgu sistemi bir arama sistemi olabilir ve yöntem ayrıca şunları içerebilir: bir değişikliğe yanıt veren arama sonuçlarının belirlenmesi; ve arama sonuçlarını arayan kişiye sağlamak.
- Değişikliklerin en azından bir birinci modifikasyonu için, birinci modifikasyonun bir sorgu kalıbının belirlenmesi, burada birinci modifikasyon için popülerlik ölçüsü, birinci modifikasyonun sorgu kalıbının popülerliğinin göstergesi olan bir sorgu kalıbı popülerlik ölçüsünü içerir. İlk değişikliğin sorgu modelinin belirlenmesi şunlardan oluşabilir: ilk değişiklikte bir n-gram kategorisinin seçilmesi ve n-gramın sınıfın bir tanımlayıcısı ile değiştirilmesi.
- Dönüşümün değişiklik n-gramı ve değişiklikteki değişiklik n-gramı ile değiştirilen önceki sorgu terimleri coğrafi konumları belirttiğinde, değişikliğin sıralaması yükseltilebilir.
Değiştirilen arama sonuçları ayrıca şunları içerebilir:
- Önceki sorgulara dayalı olarak geçerli sorgunun popülerliğini gösteren geçerli bir sorgu popülerlik ölçüsü belirleme
- Mevcut sorgu popülerlik ölçüsüne dayalı olarak mevcut sorgu için bir sıralama seçme, burada bir gönderim sorgusu olarak kullanılacak değişikliklerin bir modifikasyonunun seçilmesi, yalnızca bir dönüşümün sıralaması mevcut sorgunun sıralamasından daha belirgin olduğunda gerçekleşir.
- Mevcut sorgunun sıralaması diğer değişikliklerin sıralamasından daha belirgin olduğunda, gönderim sorgusu olarak kullanmak üzere mevcut sorguyu seçin.
- Yükseltme, mevcut sorgunun değişikliklere göre sıralamasını yükselttiğinde, mevcut sorgunun sıralamasını yükseltme.
- Geçerli sorgunun ilgili kavram ölçüsü için geçerli sorgu için varsayılan bir ölçü kullanma
- Varsayılan ölçüye dayalı olarak geçerli sorgu için sıralamayı seçme.
- Önceki sorgu ve mevcut sorgu, araştırmacının sözlü girişi yoluyla sağlanabilir. Geçerli sorgunun belirlenmesi, arama yapanın sözlü bilgileri aracılığıyla son sorguya ve mevcut sorguya dayalı olarak önceki sorguyu iyileştirmeye yönelik potansiyel bir niyeti gösterir.
- Mevcut sorgunun belirlenmesi, arayıcının önceki sorguyu iyileştirmeye yönelik potansiyel bir niyetinin göstergesi olup, mevcut soruyu belirlemeye dayalı olarak elde edebileceği iyileştirme niyetini n-gramları içerir.
Patentli sorguların arkasındaki değiştirilmiş arama sorguları ayrıca şunları içerebilir:
- Geçerli sorgu terimlerine dayalı olarak ikinci bir değişiklik n-gramı bulma
- Her biri önceki sorgu terimlerinin yerine geçen ikinci değişiklik n-gramını içeren önceki sorgunun ek değişikliklerinin üretilmesi
- Ek değişikliklerin her biri için popülerlik ölçüsünü ve ilgili kavram ölçüsünü belirleme
- Daha sonraki modifikasyonun popülerlik ölçüsüne ve daha sonraki modifikasyonun ilgili kavram ölçüsüne dayalı olarak, ek modifikasyonların katlarının her biri için bir sıralama belirleme
- Gönderim sorgusu olarak kullanılacak değişikliklerin bir değişikliğinin seçilmesi, yalnızca bir dönüşümün sıralaması ek iyileştirmelerin sıralamasından daha belirgin olduğunda gerçekleşir.
- Ek değişikliklerden birinin eşleşen bir değişiklikle aynı sırayla aynı terimleri içerdiğine karar verme
- Ek değişikliklerden biriyle eşleşen ve değişikliklerden eşleşen birinin birleşik sıralamasının hesaplanması, birleşik sıralama, farklı değişikliklerden birinin eşleşen birinin bireysel sıralamasından daha belirgindir.
Aşağıdaki adımları içeren bilgisayarla uygulanan bir yöntem sağlanabilir:

- Çok sayıda geçerli sorgu terimini içeren geçerli bir sorgu alma
- Geçerli sorgu terimlerine dayalı olarak, geçerli sorgunun, arama yapanın bir sorguyu iyileştirme niyetinin göstergesi olduğunu seçme; mevcut sorgu terimlerine dayalı olarak bir değişiklik n-gramının belirlenmesi
- Her biri, önceki sorgu terimlerinde ikame edilen n-gram değişikliğini içeren önceki sorgunun modifikasyonlarını oluşturma
- Aday sorguları bulma, oluşturulan değişikliklerin çoğunu içeren ve mevcut sorguyu içeren aday sorguları
- Aday sorgularının her aday sorgusu için tanımlama: bir popülerlik ölçüsü
- Burada popülerlik ölçüsü, önceki sorgulara dayalı olarak aday sorgunun popülerliğinin göstergesidir.
- Her bir aday sorgusunun sıralamasının belirlenmesi, burada belirli bir aday sorgusunun sıralaması, verilen aday sorgusu için popülerlik ölçüsüne dayanır.
- Gönderim sorgusu olarak kullanılacak aday sorgularından bir aday sorgusunun seçilmesi, tek aday sorgusunun sıralamasına göre seçim.
Değiştirilmiş arama sorguları patenti şu adreste:
Önceki bir sorgunun sıralama değişiklikleri
Mucitler: Bruce Christensen, Kumar Pravir Gupta ve Jan Kuipers
Atanan: GOOGLE LLC
ABD Patenti: 11.169.989
Verildi: 9 Kasım 2021
Dosya: 13 Ekim 2015
Soyut
Önceki bir sorgunun sıralama değişiklikleriyle ilgili yöntemler ve aygıtlar.
Örneğin, önceki bir sorgunun modifikasyonları, önceki sorgunun n-gram'larını mevcut sorgunun n-gram'ları ile değiştirerek önceki sorgunun ardından yayınlanan mevcut bir sorguya dayalı olarak oluşturulabilir. modifikasyonların her birinin ölçüleri tanımlanabilir ve bu ölçülere dayalı olarak, her bir değişikliğin bir sıralaması belirlenebilir.
Değişikliklerden biri, değişikliklerin sıralamasına dayalı olarak bir başvuru sorgusu olarak seçilebilir.
Gönderim sorgusu, mevcut sorgunun yerine veya ona ek olarak gönderim için seçilebilir.
Değiştirilmiş Arama Sorguları Sonuç
Patentin özetini özetledim ve nasıl çalıştığı hakkında daha fazla bilgi edinmek istiyorsanız, patentin tamamını görmek için tıklamak isteyebilirsiniz. Google'dan, yazım hatalarını düzeltmek için arama sorgularının yeniden yazılmasını veya eş anlamlılar sağlanmasını içeren ve böylece arama yapan kişi tarafından çok benzer anlamlardaki arama sonuçlarının alınmasını içeren birçok patent olmuştur.
Google'ın bunları arayanlara sağlamak için seçebileceği birkaç farklı yol olduğundan, bu eşanlamlıları sağlamakla ilgili bazı yayınların bağlantılarını eklemek istedim. Eşanlamlıları içeren değiştirilmiş arama sorguları patentlerinin çoğu, ilk olarak Google'da 2003'te görünmeye başladı ve sinek kuşu ve RankBrain'i içeren eşanlamlı ikamelere dönüştü. Google'ın değiştirilmiş arama sorgularına atıfta bulunduğu bir yol, sorguları yeniden yazmaktır. Google, sorguları uzun süredir değiştiriyor ve Google'ın bunu yaptığına ilişkin bazı yayın örnekleri:
25.05.2007 – Sorguları Hassaslaştırmak için Yerel Kategori Eş Anlamlısı Kullanma
29.12.2008 – Bir Arama Motoru, Arama Sorgularını Yeniden Yazmak İçin Eş Anlamlı Sözcükleri Nasıl Kullanabilir?
22/12/2009 – Sorgularda Google Arama Eşanlamlıları Bulunuyor
1/19/2010 – Google Eş Anlamlılar Güncellemesi
16.02.2011 – Arama Motoru Eş Anlamlılarının Sorguları Yeniden Yazmak İçin Kullanılabileceği Daha Fazla Yol
8/12/2013 – Google, Sorgu Terimlerini Birlikte Oluşmayla Nasıl Yerine Geçirebilir?
27.09.2013 – Google Hummingbird Güncellemesi ve Hummingbird Arkasındaki Muhtemel Patent
27.10.2015 – Google RankBrain ve Sorgu Terimi Değiştirmelerinin İncelenmesi
21.12.2015 – Google, Bilgi Bankası Kategorilerini Kullanarak Eş Anlamlı Değiştirmeleri Nasıl Daha İyi Yapabilir?
23.08.2019 – Google, Arama Yapanların Önceki Sorgularına Bakarak Yeniden Sorgu Yazmayı Nasıl Yapabilir?
27.09.2021 – Yeniden Yazılan Sorgular ve Kullanıcıya Özel Bilgi Grafikleri
Haberleri Doğrudan Gelen Kutunuza Arayın
*Gerekli
