谷歌如何通過查看搜索者之前的查詢來重寫查詢
已發表: 2019-08-24穆德維爾體育場(Mighty Casey Struck Out)有多少人?
本週早些時候,谷歌獲得了一項涉及查詢重寫的新專利。 它的工作方式與 Google 的 Hummingbird 或 Google 的 Rankbrain 的工作方式不同。
我們已經看到有關重寫查詢的專利,搜索者可能會使用返回頁面進行搜索,這些頁面確實滿足搜索者的信息需求情境。 這些是 Google 的 Hummingbird 更新以及使用同義詞重寫查詢的其他 Google 專利背後的想法。
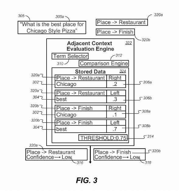
在下面來自蜂鳥專利的圖中,Chicago Style Pizza 的“place”一詞可以改寫為“restaurant”,這樣谷歌作為查詢更容易回答。

我在我的文章 The Google Hummingbird Patent? 中寫了一篇專利,描述了 Hummingbird 使用的查詢重寫方法。 在那篇文章中,我寫了在谷歌宣布 Hummingbird 更新前兩週獲得的一項谷歌專利,並在公告中分享了一些查詢重寫的例子。 該專利是基於共現詞的同義詞識別。
在宣布蜂鳥的活動中,他們就更新發表了以下聲明:
谷歌特別表示,Hummingbird 更加關注查詢中的每個詞,確保考慮整個查詢——整個句子、對話或意思——而不是特定的詞。 目標是匹配含義的頁面做得更好,而不是匹配幾個單詞的頁面。
~ 常見問題:關於新的谷歌“蜂鳥”算法
在查詢“什麼是芝加哥風味比薩的最佳地點”中,該專利告訴我們“地點”一詞可以替換為“餐廳”一詞,這將使搜索引擎更容易回答。
這項新專利可能會查看搜索者自己的話來重寫查詢。 它可能會查看他們之前可能執行過的查詢,以幫助他們找到想要查找的內容。 我將提供專利背後流程的摘要,然後舉例說明先前的查詢如何幫助重寫搜索者的查詢。
使用以前的查詢重寫查詢
這些是新授權專利中確定的步驟,詳細說明了其背後的過程:
- 搜索引擎接收來自搜索者的查詢
- 搜索引擎可能在同一會話期間收到了來自同一搜索者的多個先前查詢
- 搜索引擎可以根據最新的搜索查詢和來自同一搜索者的先前搜索查詢創建許多候選查詢重寫
- 這些候選查詢重寫的評分是基於對響應於候選查詢重寫的搜索結果的分析確定重寫的質量
- 根據滿足閾值的分數選擇候選查詢重寫
- 來自所選候選查詢重寫的那些搜索結果將顯示給搜索者
該專利告訴我們,有一些與這種查詢重寫方法相關的可選功能。 我認為有趣的是,在以前的查詢中包含實體是這種重寫方法的一個有趣方面。
這些可選步驟充實了上面列出的步驟。
- 創建候選查詢重寫的次數可能意味著將原始查詢與每個先前的搜索查詢連接起來
- 每個先前查詢都有一個時間戳,並且對候選查詢重寫進行評分的一部分可以包括根據先前查詢的年齡對候選重寫進行加權。
- 創建這些數量的候選查詢重寫可以包括從來自多個用戶的與搜索查詢相似的查詢集合中識別查詢。
- 對候選查詢重寫進行評分還包括根據來自許多用戶的查詢集合來確定每個候選查詢重寫的流行程度。
- 對每個候選查詢重寫進行評分還可以包括確定它是否包含特定類型的引用項(可能是實體引用)
- 可以響應於確定候選查詢重寫包括特定類型的實體來增加候選查詢重寫的分數。
- 對每個候選查詢重寫的評分還包括確定搜索查詢中是否具有與特定實體高度相關的術語。
- 響應於確定候選查詢重寫包括與查詢項高度相關的實體,可以增加候選查詢重寫的分數。
- 基於響應於候選查詢重寫的搜索結果的分析來確定每個候選查詢重寫的質量包括響應於每個候選查詢重寫獲得搜索結果並確定搜索結果的質量。
這種查詢重寫方法不是理解查詢中所有單詞的上下文並以更有可能返回對搜索者有用的結果的方式重寫它們。 通過讓搜索引擎了解來自同一查詢會話的多個查詢的上下文,以及它們是否有助於提供滿足搜索者的答案,它對此進行了擴展。 該專利告訴我們,該專利的工藝背後的優勢在於:

使用先前的用戶會話查詢來重寫查詢提高了響應用戶意圖返回搜索結果的可能性。
這個查詢重寫專利是:
使用會話信息重寫查詢
發明人:Marcin M. Nowak-Przygodzki 和 Behshad Behzadi
受讓人:谷歌有限責任公司
美國專利:10,387,437
授予時間:2019 年 8 月 20 日
提交時間:2017 年 1 月 13 日
抽象的
用於自然語言處理的方法、系統和裝置,包括在計算機存儲介質上編碼的計算機程序。 其中一種方法包括在用戶會話期間接收來自用戶的搜索查詢; 獲得用戶在用戶會話期間收到的多個先前的搜索查詢; 生成多個候選查詢重寫,其中候選查詢重寫是從搜索查詢和用戶的多個先前搜索查詢中得出的; 對每個候選查詢重寫進行評分,其中對每個候選查詢重寫進行評分包括基於對響應於候選查詢重寫的搜索結果的分析來確定每個候選查詢重寫的質量; 選擇具有滿足閾值的分數的候選查詢重寫,並響應於所選擇的候選查詢重寫提供搜索結果。
查詢重寫測試和要點
我確實嘗試了此專利中列出的示例中的查詢,但它並沒有為我重寫我的查詢。 總是測試這樣的東西,不管是我寫的,還是你自己遇到的專利,這聽起來很有趣——看看谷歌是否按照專利所說的去做,或者他們是否實施了任何表明他們正在朝著它前進。
我最近寫了一篇文章,企業的質量訪問分數可能會影響 Google 本地搜索中的排名,無法判斷他們是否使用質量訪問分數來提高本地結果的排名,但還有其他跡象表明 Google 可能正在朝著這樣的事情。 第一個是谷歌在 Google Analytics 360 中展示了高質量的訪問信息。第二個是谷歌網站管理員博客最近的一篇文章告訴我們,谷歌將在不同的業務類別中為排名前 5 的企業頒發徽章% 訪問過的網站在其類別中。 因此,尋找專利中描述的過程正在使用的跡象。
該專利的示例包括使用以下查詢進行搜索:
[穆德維爾體育場]
【泥城九號】
[巴拉克奧巴馬]
下一個查詢將是:
[容量是多少]
它將引用先前查詢中的第一個。
基於將該查詢與第一個先前查詢連接起來的候選查詢重寫將是:
[Mudville 體育場的容量是多少?]
它還指的是在第一個查詢中命名的實體的屬性(體育場的容量),它符合候選重寫查詢將獲得高分的可選特徵。
Google 不會將最後一個查詢與第一個查詢結合起來,並不會返迴向我展示 Mudville 體育場此時容量的結果。 再說一次,我不確定是否有一個真正的 Mudville 體育場(這是 Casey At the Bat 發生的地方,所以我嘗試了相同的查詢集,用 Lincoln Financial Field(這是真實的)替換了 Mudville Stadium,而 Google 做到了也不要告訴我林肯金融領域的容量。至少現在還沒有。我會再試一次。
