วิธีที่เครื่องมือค้นหางานของ Google ใช้การเรียนรู้ของเครื่อง
เผยแพร่แล้ว: 2018-04-27มีคนถามฉันเมื่อเร็วๆ นี้ว่าเหตุใดฉันจึงคิดว่าการแบ่งปันสิทธิบัตรที่อธิบายสิ่งที่เสิร์ชเอ็นจิ้นอาจเสนอให้ เช่น เครื่องมือค้นหางานที่เพิ่งเพิ่มเข้ามาเมื่อเร็วๆ นี้ วัตถุประสงค์ทางกฎหมายเบื้องหลังสิทธิบัตรคือการให้โอกาสแก่ผู้ถือสิทธิบัตร กีดกันไม่ให้ผู้อื่นใช้กระบวนการเดียวกันกับพวกเขา และป้องกันไม่ให้ผู้อื่นละเมิดการประดิษฐ์ของพวกเขา การแลกเปลี่ยนที่อยู่เบื้องหลังการยกเว้นดังกล่าวเป็นข้อกำหนดที่จะต้องมีการเผยแพร่สิทธิบัตร เพื่อให้ตัวอย่างอื่นๆ ว่าผู้คนกำลังสร้างสรรค์สิ่งใหม่ ๆ อย่างไรเพื่อพยายามเอาชนะปัญหา ซึ่งสามารถสร้างแรงบันดาลใจ และให้ข้อมูลเชิงลึกแก่ผู้คนเกี่ยวกับสมมติฐานที่นักประดิษฐ์ดังกล่าวอาจมีเกี่ยวกับการค้นหา และผู้ค้นหา และเว็บ
เครื่องมือค้นหางานของ Google
เป็นเรื่องสนุกเสมอเมื่อ Google เปิดตัวคุณลักษณะใหม่ๆ แล้วค้นหาสิทธิบัตรใหม่จากเครื่องมือค้นหา คุณลักษณะใหม่นั้นเป็นหัวข้อของหนึ่งในสิทธิบัตรเหล่านั้น ตัวอย่างเช่น คุณอาจสังเกตเห็นว่า Google เปิดตัวเครื่องมือค้นหางานของ Google ดังที่คุณเห็นผลลัพธ์ได้จากที่นี่:

มีบทความเกี่ยวกับเครื่องมือค้นหางานนั้น:
เครื่องมือค้นหางานของ Google มีช่วงเงินเดือน ตัวกรองตำแหน่งที่ดีขึ้น และอื่นๆ
นอกจากนี้ยังมีหน้าความช่วยเหลือของ Google เกี่ยวกับการค้นหางานของ Google:
ค้นหางานใน Google
หาก Google เริ่มต้นเครื่องมือค้นหาวันนี้...
สิทธิบัตรใหม่นี้มีชื่อง่ายๆ ว่า “Search Engine” เนื่องจากใช้แนวทางดังกล่าว ฉันจึงสงสัยว่า Google จะเป็นอย่างไรหากผู้คนที่ทำงานเกี่ยวกับมันเริ่มสร้างวันนี้ ฉันพบว่าน่าสนใจที่พวกเขารวมคำจำกัดความเหล่านี้ว่าเครื่องมือค้นหาคืออะไร ซึ่งเริ่มคำอธิบายของสิทธิบัตร:
โดยทั่วไป เสิร์ชเอ็นจิ้นอาจถูกอธิบายว่าเป็นโปรแกรมใดๆ ที่ดำเนินการค้นหาและดึงข้อมูลที่เก็บไว้ อย่างไรก็ตาม ตามงานที่ทำอยู่ เครื่องมือค้นหาสามารถกำหนดค่าได้หลายวิธี ตัวอย่างเช่น เครื่องมือค้นหาบางตัวอาจได้รับการกำหนดค่าให้ทำการค้นหาและดึงข้อมูลตามคำหลัก เครื่องมือค้นหาดังกล่าวอาจระบุผลการค้นหาที่เกี่ยวข้องโดยพิจารณาจากจำนวนครั้งที่ข้อความค้นหาปรากฏในแหล่งข้อมูลหนึ่งๆ หรือข้อมูลเมตาของทรัพยากรนั้นๆ อย่างน้อยบางส่วน หรือเครื่องมือค้นหาบางตัวอาจระบุผลการค้นหาว่าตอบสนองต่อการสืบค้น เนื่องจากผู้ให้บริการทรัพยากรจ่ายเงินจำนวนหนึ่งให้กับผู้ให้บริการเครื่องมือค้นหาเพื่อส่งคืนทรัพยากรของผู้ให้บริการเพื่อตอบสนองต่อคำค้นหาที่มีข้อความค้นหาเฉพาะ . อย่างไรก็ตาม วิธีดังกล่าวที่เครื่องมือค้นหาสามารถระบุผลการค้นหาที่ตอบสนองต่อข้อความค้นหานั้นเป็นเพียงตัวอย่างเท่านั้น
เครื่องมือค้นหาสามารถกำหนดค่าให้ระบุผลการค้นหาที่ตอบสนองต่อข้อความค้นหาได้ด้วยวิธีอื่นๆ ที่หลากหลาย สามารถใช้การกำหนดค่าที่กำหนดเองของเครื่องมือค้นหาได้ตามความจำเป็น เพื่อแก้ปัญหาเฉพาะที่เกี่ยวข้องกับการค้นหาและการดึงข้อมูล การปรับแต่งเครื่องมือค้นหาอาจรวมถึงการเปลี่ยนแปลงวิธีที่เครื่องมือค้นหาดำเนินการค้นหา ระบุผลการค้นหาที่เกี่ยวข้อง จัดอันดับผลการค้นหาที่ระบุ หรืออื่นๆ ที่คล้ายกัน
การขยายการค้นหาด้วยคำสำคัญในเครื่องมือค้นหางานของ Google
สิทธิบัตรนี้มุ่งเน้นไปที่การหางานมากกว่าการค้นหาทั้งหมด มีการอธิบายรายละเอียดที่ลึกซึ้งยิ่งขึ้นเบื้องหลังสิ่งที่ Google เสนอให้กับการค้นหางาน และเหตุใดการใช้งานการค้นหางานของ Google จึงอาจได้รับการปรับปรุงเมื่อมีการเสนองานในที่อื่น:
ในการใช้งานบางรูปแบบ จะมีการจัดเตรียมรูปแบบการระบุตำแหน่งงานที่ปรับปรุงการหางานโดยการปรับปรุงคุณภาพของผลการค้นหาที่ให้ไว้เพื่อตอบสนองต่อคำค้นหาในการค้นหางาน ผลการค้นหาได้รับการปรับปรุงเนื่องจากรูปแบบการระบุตำแหน่งงานสามารถระบุประกาศรับสมัครงานที่เกี่ยวข้อง ซึ่งอัลกอริทึมทั่วไปอาจมองข้ามไปเนื่องจากข้อจำกัดโดยธรรมชาติของการค้นหาตามคำหลัก โดยการใช้วิธีการเพิ่มเติมนอกเหนือจากหรือนอกเหนือจากการค้นหาโดยใช้คำหลักทั่วไป รูปแบบการระบุงานสามารถระบุประกาศรับสมัครงานที่เกี่ยวข้องซึ่งรวมถึงตำแหน่งงานที่ไม่ตรงกับคำหลักของข้อความค้นหางานที่ได้รับ ตัวอย่างเช่น ในการตอบสนองต่อคำค้นหาหางานที่แสวงหาโอกาสในการทำงานสำหรับ “ปรมาจารย์ด้านสิทธิบัตร” รูปแบบการระบุตำแหน่งงานอาจระบุตำแหน่งงานที่เกี่ยวข้องกับ “ทนายความสิทธิบัตร” “ทนายความทรัพย์สินทางปัญญา” “ทนายความ” หรือ ชอบ.
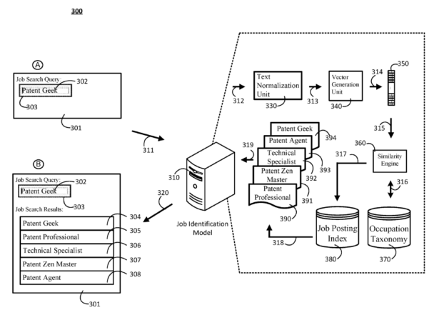
สิทธิบัตรทำให้เราเห็นภาพนี้ในภาพวาดที่มาพร้อมกับ:

ที่น่าสนใจคือการค้นหานี้จะขยายออกไปตามการค้นหาตามคำหลักเช่นนั้น นักประดิษฐ์ให้ข้อมูลเชิงลึกเกี่ยวกับวิธีที่แมชชีนเลิร์นนิงมีบทบาทในการช่วยให้นอกเหนือไปจากการจับคู่คีย์เวิร์ดในการค้นหากับการโพสต์รับสมัครงาน ดังที่อธิบายไว้ที่นี่:
ตามการใช้งานหนึ่งครั้ง หัวข้อของข้อกำหนดนี้อาจถูกรวมไว้ในวิธีการที่อำนวยความสะดวกในการค้นหางาน วิธีการอาจรวมถึงการกระทำของการกำหนดคำศัพท์เวกเตอร์ การกำหนดอนุกรมวิธานอาชีพที่มีอาชีพที่แตกต่างกันหลายรายการ การรับรายการข้อมูลการฝึกอบรมที่มีป้ายกำกับหลายรายการ โดยแต่ละรายการข้อมูลการฝึกอบรมที่มีป้ายกำกับจะเชื่อมโยงกับ (i) ตำแหน่งงานเป็นอย่างน้อย และ (ii) อาชีพ การสร้าง สำหรับแต่ละรายการข้อมูลการฝึกอบรมที่ติดป้ายกำกับ เวกเตอร์อาชีพที่รวมน้ำหนักคุณลักษณะสำหรับแต่ละคำศัพท์ที่เกี่ยวข้องในคำศัพท์เวกเตอร์ เชื่อมโยงเวกเตอร์อาชีพตามลำดับกับอาชีพในอนุกรมวิธานอาชีพตามอาชีพของ รายการข้อมูลการฝึกอบรมที่มีป้ายกำกับที่ใช้ในการสร้างเวกเตอร์อาชีพ รับคำค้นหาที่มีสตริงที่เกี่ยวข้องกับลักษณะของโอกาสงานที่เป็นไปได้อย่างน้อยหนึ่งตำแหน่ง การสร้างเวกเตอร์แรกตามคำค้นหาที่ได้รับ การกำหนด สำหรับแต่ละอาชีพตามลำดับของหลาย อาชีพในอนุกรมวิธานอาชีพ คะแนนความเชื่อมั่นที่บ่งชี้ว่าเวกเตอร์แบบสอบถามมีการจัดประเภทอย่างถูกต้องในอาชีพที่เกี่ยวข้อง การเลือกอาชีพเฉพาะที่เกี่ยวข้องกับคะแนนความเชื่อมั่นสูงสุด การได้ประกาศรับสมัครงานอย่างน้อยหนึ่งรายการโดยใช้อาชีพที่เลือก และการจัดหาประกาศรับสมัครงานที่ได้รับในชุดผลการค้นหาตามคำค้นหา .
อนุกรมวิธานอาชีพสำหรับเครื่องมือค้นหางาน
สิทธิบัตรบอกเราเกี่ยวกับวิธีการที่อนุกรมวิธานอาชีพนั้นตามการค้นหางานที่อาจได้รับการพัฒนาเพิ่มเติมเช่นกัน:
การดำเนินการอาจรวมถึงการรับคำค้นหาที่มีสตริงที่เกี่ยวข้องกับลักษณะของโอกาสในการทำงานหนึ่งรายการขึ้นไป การสร้างเวกเตอร์การสืบค้นที่รวมน้ำหนักของคุณลักษณะสำหรับแต่ละคำที่เกี่ยวข้องในคำศัพท์เวกเตอร์ที่กำหนดไว้ล่วงหน้า โดยพิจารณาจากคำค้นหาที่ได้รับ สำหรับแต่ละอาชีพที่เกี่ยวข้องของหลายอาชีพในอนุกรมวิธานอาชีพ คะแนนความเชื่อมั่นที่บ่งชี้ว่าเวกเตอร์การสืบค้นได้รับการจำแนกอย่างถูกต้องในอาชีพนั้น ๆ หรือไม่ โดยเลือกอาชีพเฉพาะที่เกี่ยวข้องกับคะแนนความเชื่อมั่นสูงสุด ได้อย่างน้อยหนึ่งรายการ ประกาศรับสมัครงานโดยใช้อาชีพที่เลือก และจัดหาประกาศรับสมัครงานที่ได้รับในชุดผลการค้นหาเพื่อตอบสนองต่อคำค้นหา
น้ำหนักคุณลักษณะในเงื่อนไขอาชีพในเครื่องมือค้นหางาน
สิทธิบัตรจะขยายตามน้ำหนักของคุณลักษณะสำหรับเงื่อนไขในการสืบค้นสำหรับเครื่องมือค้นหางานด้วย:
ในการใช้งานบางอย่าง น้ำหนักของคุณลักษณะอาจขึ้นอยู่กับค่าแรกเป็นค่าแรกซึ่งแสดงถึงความถี่ของคำที่กำหนด อย่างน้อยก็ในบางส่วน ตามการเกิดขึ้นหลายครั้งของแต่ละภาคการศึกษาในตำแหน่งงานของข้อมูลการฝึกอบรมที่เกี่ยวข้อง สิ่งของ. อีกทางหนึ่ง หรือด้านข้าง น้ำหนักของจุดสนใจอาจอิง อย่างน้อยก็ในบางส่วน ตามค่าที่สองที่แทนความถี่ของอาชีพผกผัน ซึ่งพิจารณาจากอาชีพหลายอย่างในอนุกรมวิธานอาชีพซึ่งแต่ละภาคการศึกษาเป็นอย่างน้อย มีชื่อรายการข้อมูลการฝึกอบรมที่เกี่ยวข้อง อีกทางหนึ่ง หรือนอกเหนือจากนั้น น้ำหนักของคุณลักษณะอาจขึ้นอยู่กับอย่างน้อยก็ในบางส่วน โดยเป็นค่าที่สามที่แสดงถึงอนุพันธ์ของอาชีพที่อิงจากความหนาแน่นของแต่ละภาคการศึกษาเป็นอย่างน้อยในตำแหน่งงานของข้อมูลการฝึกอบรมที่เกี่ยวข้อง รายการในแต่ละอาชีพที่เกี่ยวข้องในอนุกรมวิธานอาชีพ
ในการใช้งานบางอย่าง น้ำหนักของคุณลักษณะอาจขึ้นอยู่กับอย่างน้อยก็ในบางส่วนบนทั้งสองค่า (i) ค่าที่สองที่แสดงถึงความถี่ในการประกอบอาชีพผกผันที่กำหนดโดยอย่างน้อยก็บางส่วนในหลายๆ อาชีพในอนุกรมวิธานอาชีพโดยแต่ละภาคการศึกษา ในตำแหน่งงานของรายการข้อมูลการฝึกอบรมที่เกี่ยวข้องนั้นมีอยู่ และ (ii) ค่าที่สามที่แสดงถึงอนุพันธ์ของอาชีพที่ขึ้นอยู่กับความหนาแน่นของแต่ละภาคการศึกษาเป็นอย่างน้อยในชื่องานของรายการข้อมูลการฝึกอบรมที่เกี่ยวข้อง แต่ละอาชีพที่เกี่ยวข้องในอนุกรมวิธานอาชีพ หรืออีกทางหนึ่ง น้ำหนักของจุดสนใจอาจขึ้นอยู่กับผลรวมของ (i) ค่าที่สองที่แสดงถึงความถี่ของการยึดครองที่ผกผัน และ (ii) หนึ่งในสามของค่าที่สามที่แสดงถึงอนุพันธ์ของอาชีพ
สิทธิบัตรเครื่องมือค้นหางาน
(US20180107983) เครื่องมือค้นหา
ใบสมัครจำนวน: 15296230
วันที่สมัคร: 18.10.2016
เลขที่ตีพิมพ์: 20180107983
วันที่ตีพิมพ์: 19.04.2018
ผู้ประดิษฐ์: Seyed Reza Mir Ghaderi, Xuejun Tao, Ye Tian, Matthew Courtney, Pei-Chun Chen และ Christian Posse
เชิงนามธรรม:
วิธีการ ระบบ และอุปกรณ์ รวมถึงโปรแกรมคอมพิวเตอร์ที่เข้ารหัสบนอุปกรณ์จัดเก็บข้อมูล สำหรับดำเนินการค้นหาตำแหน่งงาน ในแง่หนึ่ง ระบบรวมถึงเครื่องมือประมวลผลข้อมูล และอุปกรณ์เก็บข้อมูลที่คอมพิวเตอร์อ่านได้ซึ่งมีคำสั่งที่เก็บไว้ในนั้น ซึ่งเมื่อดำเนินการโดยเครื่องมือประมวลผลข้อมูล จะทำให้อุปกรณ์ประมวลผลข้อมูลดำเนินการ การดำเนินการรวมถึงการกำหนดคำศัพท์เวกเตอร์ การกำหนดอนุกรมวิธานอาชีพที่มีอาชีพที่แตกต่างกัน การรับรายการข้อมูลการฝึกอบรมที่มีป้ายกำกับหลายรายการ โดยแต่ละรายการข้อมูลการฝึกอบรมที่มีป้ายกำกับจะเชื่อมโยงกับ (i) ตำแหน่งงานเป็นอย่างน้อย และ (ii) อาชีพ การสร้างสำหรับแต่ละรายการข้อมูลการฝึกอบรมที่ติดป้ายกำกับนั้น ๆ เวกเตอร์อาชีพที่รวมน้ำหนักคุณลักษณะสำหรับแต่ละคำศัพท์ที่เกี่ยวข้องในคำศัพท์เวกเตอร์และเชื่อมโยงเวกเตอร์อาชีพที่เกี่ยวข้องกับอาชีพในอนุกรมวิธานอาชีพตามอาชีพของข้อมูลการฝึกอบรมที่มีป้ายกำกับ รายการที่ใช้สร้างเวกเตอร์อาชีพ

