Kontextbezogene Knowledge Panels bei Google
Veröffentlicht: 2019-09-09Was ist nur ein kontextbezogenes Wissenspanel?
SEO kommt nicht mit einer Bedienungsanleitung – es wäre einfacher, wenn es so wäre. Aber für manche Dinge kennen wir einfach nicht alle Regeln, wie sie funktionieren, wie zum Beispiel Wissenspanels. Manchmal bekommen wir einige Hinweise von Orten wie Patenten und einem, der Anfang dieses Monats erteilt wurde, ergänzt um einige Informationen, die ich in der Vergangenheit über Wissenspanels erfahren habe.
Alle Wissenspanels können kontextbezogene Wissenspanels sein, abhängig von kontextbasierten Wörtern, die eine Abfrage mit einer darin benannten Entität begleiten könnten.
Wenn jemand eine Abfrage durchführt, die den Namen einer Entität enthält, sollte im Idealfall ein Wissensbereich angezeigt werden. Ein Kunde von uns hatte zwei verschiedene Standorte in zwei verschiedenen Städten, und als Sie nach seinem Namen (nur dem Namen) suchten, wurde kein Wissensbereich angezeigt. Wenn Sie nach dem Namen und dann nach dem Namen der Stadt suchen, in der sich der erste befand, wurde ein Wissensbereich für dieses Unternehmen an diesem Standort angezeigt. Wenn Sie nach dem Namen des Unternehmens und der Stadt suchen, in der sich das zweite Unternehmen befindet, wird ein Wissensbereich für dieses Unternehmen an diesem Standort angezeigt. Das Hinzufügen dieser Kontextinformationen machte einen Unterschied in den kontextbezogenen Wissenspanels, die für mich in SERPs erschienen.
Zwischen dieser Erfahrung und dem Patent, über andere Anfragen, um zu sehen, welche Ergebnisse ich erhalten habe.
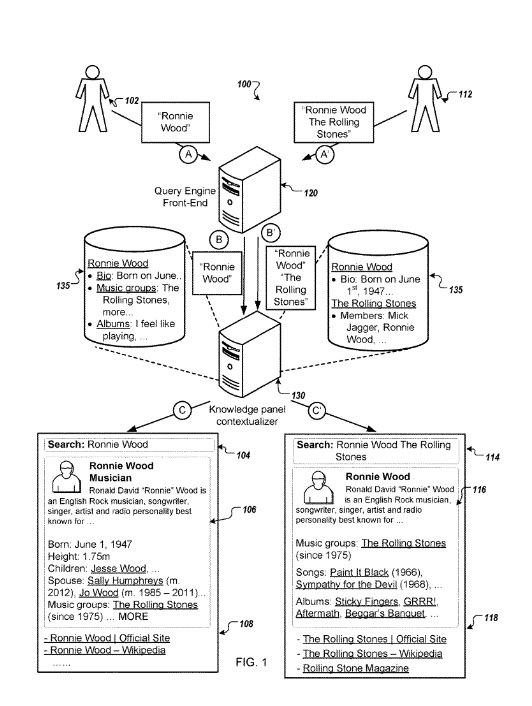
Zuerst ein Screenshot aus dem Patent, der zwei kontextbezogene Wissenspanels in Ergebnissen zu Abfragen für „Ronnie Wood“ und ein weiteres für „Ronnie Wood the Rolling Stones“ zeigt:

Wenn du nach meinem Namen suchst, erscheint ein Knowledge Panel für mich:

Wenn Sie nach meinem Namen suchen und „Go Fish, [Bill Go Fish]“ hinzufügen, wird das, was ich ein Begriffsklärungspanel genannt habe, anstelle eines kontextbezogenen Wissenspanels angezeigt:

Wenn Sie nach [bill the seo] suchen, wird ein Knowledge Panel für SEO by the Sea angezeigt:

Definition eines Wissenspanels
Ein Wissenspanel wird in einigen verschiedenen Patenten von Google manchmal als Wissenspanel und manchmal als Wissenskarte bezeichnet. Ich habe gesehen, dass einige Blogger es als Wissensgraph bezeichnen, obwohl ein Wissensgraph eine viel größere Sammlung von Informationen über viele Entitäten und Beziehungen zwischen diesen Entitäten und Eigenschaften von Entitäten ist, über die uns Informationen des Wissenspanels Informationen zeigen (Siehe mein Beitrag bei Knowledge Graph Reconciliation) Das Patent gibt uns diese Definition:
Ein Wissenspanel ist ein Benutzeroberflächenelement, das Informationen bereitstellt, zB bekannte Fakten, die sich auf eine bestimmte Entität beziehen, auf die durch eine Suchanfrage verwiesen wird. Das System kann die in das Wissenspanel aufzunehmenden Informationen bestimmen, indem es Kontextbegriffe identifiziert, die mit der durch die Suchanfrage identifizierten Entität verbunden sind.
Ein Knowledge Panel enthält auch andere Informationen sowie Inhalte aus dem Knowledge Graph von Google. Es kann enthalten:
- Informationen zu den verkehrsreichsten Zeiten
- Rezensionen für das Web und Informationen von kritischen Rezensenten
- Links zu Streaming-Inhalten, herunterladbaren Inhalten
- Veranstaltungsinformationen
- Andere Entitäten, nach denen Personen auch suchen
Abhängig von der Art der Entität, um die es im Knowledge Panel geht, beziehen sich bestimmte Informationen auf diese Art von Entität. Ich habe einen ausführlicheren Beitrag über Wissenskarten und deren Inhalt geschrieben: Google Knowledge Cards Improve Search Engine Experiences. Einige Prozesse bei Google sind in die Benutzeroberfläche von Knowledge Panels integriert, wie der, über den ich in Popular Times for Businesses Learned by Looking at Location History geschrieben habe
Dieses neue Patent sagt uns, dass Kontextbegriffe, die einer Entität in einer Abfrage hinzugefügt werden, antizipiert werden, und dieses Patent zielt darauf ab, Wissenspanels zu modifizieren, um sie für diese Abfragen relevant zu machen:
Der Gegenstand dieses Patents kann Verfahren umfassen, die Folgendes umfassen:
- Empfangen einer Anfrage, die eine Entitätskennung einer Entität enthält, auf die durch eine von einem Benutzer gesendete Suchanfrage verwiesen wird, und einen oder mehrere Kontextbegriffe, auf die durch die Suchanfrage verwiesen wird
- Identifizieren einer Reihe von Wissenselementen im Zusammenhang mit der Entität
- Identifizieren eines oder mehrerer Kontextbegriffe, die mit der Entität verknüpft sind, auf die von der Suchanfrage verwiesen wird
- Zuweisen von Rangbewertungen zu den Wissenselementen, zumindest basierend auf der Identifizierung des einen oder der mehreren Kontextbegriffe, die der Entität zugeordnet sind, auf die durch die Suchanfrage verwiesen wird
- Auswählen eines oder mehrerer der Wissenselemente aus den Wissenselementen basierend zumindest auf den den Wissenselementen zugewiesenen Rangwerten
- Bereitstellung von Informationen im Zusammenhang mit der Entität und dem einen oder den mehreren ausgewählten Wissenselementen
Diese „bekannte Tatsache“, auf die in diesem Prozess Bezug genommen wird, kann sich auf den Kontextbegriff in der Abfrage beziehen.

Dieses Patent sagt uns, dass sich die Wissenselemente, die in einem Wissenspanel angezeigt werden können, basierend auf der Bewertung ändern können, die den Kontextelementen zugeordnet ist, auf die in einer Abfrage verwiesen wird, was zu kontextbezogenen Wissenspanels führt, die sich möglicherweise geringfügig voneinander unterscheiden. Ich sehe keine drastischen Veränderungen von einem Wissenspanel zum anderen mit unterschiedlichen Kontextbegriffen, und ich vermute, dass wir in Zukunft mehr Variationen sehen werden.
Das Patent sagt uns auch, dass ein Text in einem Wissensbereich in Bezug auf Wissenselemente in einem Wissensbereich hervorgehoben werden kann. Das würde gut zu der Hervorhebung passen, die wir in den Suchergebnissen für die gesuchten Suchbegriffe oder möglicherweise Synonyme oder Ersatzstoffe dieser Suchbegriffe sehen.
Zusätzlich zur Hervorhebung werden möglicherweise einige Titel oder Untertitel im Wissensbereich angezeigt, die sich auf die in diesen Bereichen angezeigten Wissenselemente beziehen. (Siehe den Screenshot oben für die Wissensfelder für „Ronnie Wood“.
Das Contextual Knowledge Panel-Patent finden Sie unter:
Kontextualisieren von Wissenspanels
Erfinder: Amit Behal, Randolph G. Brown, Akash Nanavati und Bharat Kalyanpur
Rechtsnachfolger: Google LLC
US-Patent: 10.402.410
Bewilligt: 3. September 2019
Gespeichert: 16. Dezember 2015
Abstrakt
Verfahren, Systeme und Vorrichtungen zum Empfangen einer Anfrage, die eine Entitätskennung einer Entität enthält, auf die durch eine von einem Benutzer übermittelte Suchanfrage Bezug genommen wird, und einen oder mehrere Kontextbegriffe, auf die durch die Suchanfrage Bezug genommen wird; Identifizieren einer Vielzahl von Wissenselementen, die sich auf die Entität beziehen; Identifizieren eines oder mehrerer Kontextbegriffe, die der Entität zugeordnet sind, auf die durch die Suchanfrage verwiesen wird; Zuweisen von Rangbewertungen durch einen oder mehrere Computer zu den mehreren Wissenselementen, zumindest basierend auf dem Identifizieren des einen oder der mehreren Kontextbegriffe, die der Entität zugeordnet sind, auf die durch die Suchanfrage verwiesen wird; Auswählen eines oder mehrerer der Wissenselemente aus den Wissenselementen basierend zumindest auf den den Wissenselementen zugewiesenen Rangbewertungen; und Bereitstellen von Informationen, die der Entität und dem einen oder den mehreren ausgewählten Wissenselementen zugeordnet sind, als Reaktion auf die Anforderung.
Erkenntnisse aus kontextbezogenen Knowledge Panels
Das Patent weist auch darauf hin, dass, wenn mehr als eine Entität mit demselben Namen vorhanden ist, das Hinzufügen eines Kontextbegriffs das kontextbezogene Wissenspanel bestimmen kann, das angezeigt werden könnte. Sie weisen auf Salman Khan, einen bekannten Schauspieler in Indien, und Salman Khan, einen bekannten Pädagogen in den USA hin.
Wenn Sie mit einer Website, einem Unternehmen oder einer Person zusammengearbeitet haben, die möglicherweise ein Knowledge Panel in den Suchergebnissen bei Google hat, sollten Sie in Erwägung ziehen, danach zu suchen und kontextbezogene Begriffe in Abfragen hinzuzufügen, um zu sehen, ob es in kontextbezogenen Knowledge Panels Überraschungen gibt.
Weil Knowledge Panels keine Bedienungsanleitungen enthalten.
Aktionspunkte
Wenn Ihr Unternehmen kein Knowledge Panel hat, haben wir geschrieben, wie Sie ein Knowledge Panel für Ihre Organisation erstellen.
Sobald Sie ein Knowledge Panel haben, stellen Sie sicher, dass es korrekt ist und alles zeigt, was Sie wollen. Wir hatten einen Kunden, der erwartete, ein Wissenspanel für sein Hauptgeschäft zu erhalten, aber das Panel, das er erhielt, konzentrierte sich auf eine der Dienstleistungen, die er anstelle seines Hauptgeschäfts anbot. Wir haben vorgeschlagen, dass sie eine Person beauftragen, der die Kontrolle über die Property in Google My Business übertragen wurde, um sie zu bearbeiten, und sie innerhalb einer Woche in ihr Hauptgeschäft umstellen können. Google hat eine Support-Seite zum Aktualisieren Ihres Google Knowledge Panels.
Sobald Sie ein Knowledge Panel haben, prüfen Sie, ob es bei einer Suche nach Ihrem Firmennamen angezeigt wird oder ob zusätzliche Informationen erforderlich sind, z. B. der Name der Stadt, in der es sich befindet. Prüfen Sie, ob es bei unterschiedlichen Kontextbegriffen anders angezeigt wird werden hinzugefügt – Knowledge Panels enthalten keine Anweisungen, daher ist es gut, verschiedene Suchvorgänge auszuprobieren und zu sehen, was dabei herauskommt. Viel Spass damit.
