Bagaimana Google Dapat Menentukan Entitas Lokal yang Serupa
Diterbitkan: 2018-01-30
Pencarian Lokal Diisi dengan Entitas Lokal yang Memiliki Signifikansi Lokal
Penelusuran Lokal Google lebih berbasis semantik daripada penelusuran organiknya; di mana bisnis sering disebut sebagai "entitas lokal", seperti dalam paten yang diberikan kepada Google pada 2 Januari 2018. Ini lebih merupakan pertimbangan berbagai hal (seperti dalam "Benda dan bukan string"), daripada pencocokan kata kunci pada halaman. Sebagian, itulah sebabnya kami melihat panel pengetahuan untuk bisnis akhir-akhir ini di Google setelah mereka memperkenalkan Grafik Pengetahuan mereka, yang memamerkan entitas. Definisi mereka tentang entitas lokal, di bawah paten itu, menarik:
Beberapa sistem pencarian dapat memperoleh atau menyimpulkan lokasi perangkat pengguna tempat kueri penelusuran diterima dan menyertakan hasil penelusuran lokal yang responsif terhadap kueri penelusuran. Hasil pencarian lokal adalah hasil pencarian yang mereferensikan dokumen yang menjelaskan entitas lokal. Entitas lokal, pada gilirannya, adalah entitas yang telah diklasifikasikan memiliki signifikansi lokal ke lokasi tertentu. Entitas lokal biasanya entitas fisik yang terkait dengan alamat atau wilayah, seperti restoran, rumah sakit, tengara, dan sejenisnya. Hasil pencarian yang mereferensikan dokumen yang menjelaskan entitas lokal menerima "peningkatan" skor pencarian untuk kueri jika lokasi yang terkait dengan entitas lokal berada di dekat lokasi perangkat pengguna. Misalnya, sebagai tanggapan atas kueri penelusuran untuk “kedai kopi”, sistem penelusuran dapat memberikan hasil penelusuran lokal yang merujuk laman web untuk kedai kopi di dekat lokasi perangkat pengguna. Banyak pengguna di berbagai wilayah geografis kemungkinan besar akan puas dengan menerima hasil lokal untuk kedai kopi sebagai tanggapan atas kueri penelusuran “kedai kopi” karena kemungkinan pengguna yang mengirimkan kueri “kedai kopi” tertarik dengan hasil penelusuran untuk kedai kopi yang lokal ke lokasi pengguna.

Menampilkan Entitas Lokal Serupa adalah Tujuan
Paten baru ini bukan hanya tentang memeringkat entitas lokal sebagai tanggapan atas kueri yang relevan dengan entitas tersebut. Ini juga memberi tahu kami bahwa beberapa pencarian akan memberikan hasil pencarian yang didasarkan pada tampilan hasil yang serupa, yang juga menarik:
Dalam konteks entitas lokal, misalnya, mesin telusur dapat memberikan hasil penelusuran untuk entitas lokal yang terkait satu sama lain dalam beberapa cara yang telah ditentukan sebelumnya. Misalnya, dalam konteks restoran, saran untuk restoran lain yang menawarkan item menu serupa dengan harga serupa dapat dibuat sebagai tanggapan atas pilihan hasil penelusuran yang merujuk restoran pertama, atau sebagai tanggapan atas penelusuran restoran lain yang terkait dengan restoran pertama.
Jika Anda mencari tempat untuk berhenti dan minum kopi, melihat beberapa kedai kopi di dekatnya, bahkan beberapa yang mungkin lebih jauh memungkinkan Anda memutuskan mana yang ingin Anda kunjungi meskipun yang satu lebih dekat dan yang lain lebih dekat. sedikit lebih jauh. Pertanyaan yang saya miliki ketika saya mulai membaca ini adalah apa yang mungkin digunakan Google untuk memutuskan apakah entitas yang berbeda serupa? Bagaimana mereka menentukan itu? Bagaimana mereka memutuskan apakah entitas lokal memiliki signifikansi lokal ke lokasi geografis?
Paten memberi tahu kita bahwa beberapa hal membuat proses dalam paten ini memiliki aspek inovatif. Ini termasuk:
1) Mengakses data yang menentukan, untuk setiap entitas lokal dalam satu set entitas lokal, di mana setiap entitas lokal adalah entitas fisik yang diselesaikan ke lokasi geografis dan memiliki signifikansi lokal ke lokasi geografis berdasarkan istilah kueri yang diselesaikan dalam pemilihan entitas lokal di sebuah lokasi.
2) Menentukan ukuran kesamaan yaitu ukuran kesamaan suatu entitas lokal yang teridentifikasi dengan entitas lokal yang sejenis; kesamaan mereka mungkin cukup untuk menganggap mereka terkait.
patennya adalah:
Deteksi entitas lokal terkait
Penemu: Kumar Mayur Thakur dan Mukund Jha
Penerima Tugas: Google Inc.
Paten AS 9.858.291
Diberikan: 2 Januari 2018
Diarsipkan: 30 Oktober 2014
Abstrak
Metode, sistem, dan peralatan, termasuk program komputer yang dikodekan pada media penyimpanan komputer, untuk memproses entitas lokal. Dalam satu aspek, suatu metode mencakup pengaksesan data yang menentukan istilah kueri untuk setiap entitas lokal dalam kumpulan entitas lokal dan untuk setiap istilah kueri, nilai istilah berdasarkan banyak contoh kueri yang menyertakan istilah kueri yang terjadi di log kueri, dan nilai pilihan berdasarkan beberapa pilihan hasil pencarian yang masing-masing mereferensikan entitas lokal sebagai respons terhadap kueri yang menyertakan istilah kueri dan dikaitkan dengan istilah kueri; memilih entitas lokal pertama dari himpunan entitas lokal; memilih subset entitas lokal kedua dari set entitas lokal; dan untuk setiap entitas lokal kedua dalam himpunan bagian, menentukan ukuran kesamaan entitas lokal kedua dengan entitas lokal pertama.
Bagaimana kesamaan ditentukan untuk Entitas Lokal?
Hasil lokal di Google Maps diberi peringkat berdasarkan hal-hal seperti jarak dari riwayat lokasi seluler, relevansi judul bisnis dengan kueri yang mencarinya, dan skor keunggulan lokasi, berdasarkan kutipan (dan tautan serta ulasan dapat dihitung sebagai kutipan.) dan skor otoritas untuk situs web untuk bisnis.
Paten baru ini memberi tahu kita bahwa Google dapat memamerkan situs serupa untuk menyertai hasil lokal tertentu, untuk memberikan opsi pencari dan pilihan tempat untuk dikunjungi. Ini menjelaskan bagaimana kesamaan ditentukan, dalam hal melihat kata-kata yang muncul dalam kueri dan deskripsi:
Ukuran kesamaan didasarkan, sebagian, pada data istilah kueri untuk setiap entitas lokal. Istilah kueri, seperti yang digunakan dalam deskripsi tertulis ini, dapat berupa n-gram yang merupakan bagian dari kueri, tetapi tidak harus berupa kueri keseluruhan. Misalnya, untuk kueri “Restaurant Review Gino's”, istilah kueri mungkin berupa unigram “Restaurant,” “Review,” dan “Gino's.” N-gram lain, seperti bi-gram, tri-gram, dll., juga dapat digunakan sebagai istilah kueri.
Selain mencari kesamaan bahasa, Google juga dapat mencari entitas lokal serupa dalam radius beberapa mil. Hal ini membuat saya berpikir tentang berapa banyak bisnis serupa yang mungkin berada di dekat bisnis yang mungkin ingin saya tampilkan di hasil penelusuran lokal, dan seberapa mirip bisnis tersebut.
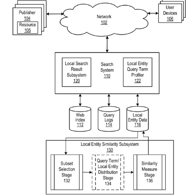
Pencarian Lokal memiliki Subsistem Entitas Lokal Serupa yang Belajar dari Log Kueri
Ketika kita memikirkan pencarian di Google, kita biasanya memikirkan pencarian organik yang menggunakan skor pencarian informasi untuk menentukan relevansi hasil pencarian dengan kueri yang dilakukan pencari, dan skor otoritas untuk hasil tersebut. Paten ini berbicara tentang subsistem entitas lokal yang serupa ketika hasil lokal diproses:
Saat memproses hasil lokal, kesamaan entitas lokal dengan entitas lokal lainnya dapat digunakan saat menentukan skor pencarian dokumen yang merujuk entitas lokal. Demikian juga, jika sistem pencarian digunakan untuk mencari entitas lokal yang tidak bergantung pada dokumen (misalnya, seperti mencari restoran), kesamaan entitas lokal dengan entitas lokal lainnya juga dapat digunakan saat menentukan entitas lokal mana yang akan dicantumkan sebagai respons terhadap kueri entitas lokal. Dengan demikian, sistem pencarian dapat mencakup, atau dalam komunikasi data dengan, subsistem kesamaan entitas lokal. Subsistem kesamaan entitas lokal menentukan, untuk setiap entitas lokal, daftar terkait entitas lokal serupa yang mencakup daftar entitas lokal yang diberi peringkat menurut kesamaannya dengan entitas lokal yang sesuai dengan daftar tersebut.
Kesamaan antara entitas lokal dapat ditentukan sebagian dengan melihat tampilan log kueri tentang seberapa sering bisnis mungkin muncul dalam hasil log kueri untuk istilah tertentu yang mungkin serupa:
Proses mengakses data yang menentukan, untuk setiap entitas lokal dalam kumpulan entitas lokal, nilai istilah, dan nilai pilihan untuk istilah kueri (202). Nilai istilah sebanding dengan beberapa contoh kueri yang menyertakan istilah kueri yang terjadi di log kueri. Misalnya, kueri "Restoran NYC Italia" dan "Restoran Italia Manhattan" masing-masing muncul N kali dalam log kueri. Berdasarkan dua kueri ini dan instance masing-masing, nilai term untuk "Restoran" sebanding dengan 2N, sedangkan nilai term untuk `NYC," "Italia" dan "Manhattan" sebanding dengan N.
Mungkinkah pilihan halaman tertentu yang menyebutkan entitas sebagai tanggapan atas kueri serupa membantu menentukan bisnis mana yang mungkin serupa dalam penelusuran lokal? Itu mungkin tergantung pada seberapa penting entitas itu bagi halaman itu. Paten tampaknya menggambarkan hal itu terjadi:
Nilai pilihan sebanding dengan banyak pilihan hasil pencarian yang masing-masing menentukan entitas lokal sebagai respons terhadap kueri yang menyertakan istilah kueri dan dikaitkan dengan istilah kueri. Misalnya, asumsikan bahwa hasil pencarian, setiap referensi dokumen, disediakan sebagai tanggapan atas permintaan pencarian. Untuk setiap pilihan hasil pencarian yang mereferensikan dokumen yang, pada gilirannya, mereferensikan entitas lokal, nilai pemilihan untuk istilah kueri dari kueri akan ditingkatkan untuk entitas lokal tersebut. Seberapa besar peningkatan nilai seleksi mungkin bergantung, dalam beberapa implementasi, pada skor yang menjelaskan betapa pentingnya entitas terhadap materi pokok dokumen. Misalnya, untuk dokumen pertama yang mencantumkan ratusan restoran, yang dijelaskan di atas, dan memiliki skor yang relatif rendah untuk setiap entitas restoran, nilai pemilihan istilah kueri untuk istilah kueri tertentu dan entitas lokal akan ditingkatkan sangat sedikit sebagai respons terhadap pilihan dari hasil pencarian yang mereferensikan dokumen. Sebaliknya, untuk dokumen kedua yang memiliki skor tinggi untuk entitas lokal, nilai pemilihan istilah kueri untuk istilah kueri tertentu dan entitas lokal akan ditingkatkan lebih banyak daripada pemilihan dokumen lokal pertama.
Jarak Entitas Lokal Serupa Dapat Bervariasi Berdasarkan Jenis Usahanya
Entitas lokal serupa dapat ditampilkan berdasarkan jenis bisnis yang terlibat. Seberapa jauh Anda akan berkendara ke tempat pizza? Untuk SPBU?
Paten mengajukan pertanyaan-pertanyaan itu juga:
Memilih subset yang tepat dari entitas lokal kedua dari set entitas lokal dapat, misalnya, melibatkan pemilihan entitas lokal yang memiliki lokasi geografis dalam jarak ambang dari lokasi geografis entitas lokal pertama. Jarak ambang dapat berupa jarak tetap atau dapat bervariasi berdasarkan jenis entitas lokal. Misalnya, untuk entitas pertama dari jenis restoran, jaraknya mungkin 10 mil; untuk entitas pertama dari jenis pompa bensin, jaraknya mungkin tiga mil; dll.
Ini juga memberikan beberapa jawaban mengenai jarak tersebut:
Jarak juga dapat didasarkan pada perkiraan waktu perjalanan. Misalnya, ketika entitas lokal pertama dipilih, semua entitas lokal lainnya dalam perkiraan 20 menit berkendara dapat dipilih. Jadi, tergantung pada batas-batas geografis (misalnya, jembatan, sungai, dll.), area dari mana entitas lokal lainnya dipilih mungkin asimetris, dan tidak hanya melingkar atau persegi panjang. Jarak berbasis waktu dapat ditentukan dari, misalnya, pola lalu lintas yang diperoleh dari sistem eksternal ke tahap pemilihan subset dan algoritma pencarian jalur.
Istilah Kueri yang Digunakan untuk Menentukan Kemiripan Mungkin Kualitas Tinggi dan Kualitas Rendah dan lihat Nomor Pilihan Klik
Saat membandingkan istilah kueri yang mungkin ditemukan di tempat yang berbeda, beberapa istilah tersebut dianggap istilah berkualitas tinggi, seperti istilah yang menunjukkan kategori, seperti "makanan". Beberapa istilah kueri mungkin dianggap berkualitas lebih rendah, seperti istilah lokasi atau istilah navigasi.
Istilah lokasi yang digunakan dalam kueri, seperti “NYC” dapat muncul dalam kueri seperti “pizza NYC” atau “Chinese Food NYC”, tetapi itu tidak menunjukkan kesamaan seperti istilah seperti “pizza” menunjukkan restoran yang khusus menyajikan pizza. Istilah kueri yang mungkin digunakan sebagai istilah navigasi, seperti nama lingkungan atau nama pusat perbelanjaan mungkin, seperti "Lombardi's". Entitas lokal di pusat perbelanjaan atau lingkungan yang sama mungkin tidak terlalu mirip. Kehadiran istilah kueri tersebut dalam log kueri untuk perbandingan mungkin lebih bermanfaat untuk istilah yang kualitasnya lebih tinggi, daripada istilah yang kualitasnya lebih rendah. Dua tempat yang diidentifikasi sebagai "makanan laut" mungkin lebih mirip daripada dua tempat yang ditemukan untuk "NYC."
Paten lebih mendalami kualitas istilah kueri, dan istilah kategori versus istilah yang menunjukkan lokasi atau bias navigasi. Mereka tampaknya menyukai kategori sebagai jenis istilah kueri yang menunjukkan kesamaan entitas lokal.
Namun mereka mungkin memperhatikan istilah kueri berkualitas tinggi dan berkualitas rendah, terutama jika pilihan untuk istilah tersebut serupa:
Sebuah "kesamaan" nilai pilihan relatif berarti bahwa distribusi pilihan untuk istilah kueri serupa. Misalnya, anggap entitas pertama adalah restoran dan yang kedua adalah kasino. Kedua entitas mungkin memiliki 5.000 klik dari kueri dengan istilah "restoran", tetapi entitas restoran memiliki 7.000 total klik dari semua kueri yang dikaitkan dengannya, sedangkan kasino memiliki 1.000.000 total klik dari semua kueri yang dikaitkan dengannya. Karena distribusi relatif sangat berbeda, hanya ada sedikit kesamaan yang dikaitkan dengan istilah "restoran" untuk kedua entitas ini. Sebaliknya, entitas lain dengan 4.000 klik dari kueri dengan istilah “restoran”, total 6.000 klik akan dianggap serupa dengan entitas restoran untuk istilah “restoran”. Demikian juga, entitas lain dengan 6.000 klik dari kueri dengan istilah "restoran", dan total 975.000 klik akan dianggap serupa dengan entitas kasino untuk istilah "restoran".
Penggunaan pilihan dari semua jenis kueri ini dapat menunjukkan apakah dua tempat berbeda mungkin mirip atau sangat berbeda satu sama lain. Ini tidak menggunakan informasi klik-tayang untuk menentukan cara memberi peringkat entitas, melainkan untuk memutuskan apakah akan menunjukkan bahwa dua entitas lokal serupa atau tidak.

